
公司以技術創新驅動發展為理念,現有發明專利13項,正申報10余項,目前已研發3套新型產品投產運營,所持技術和產品均為自主研發,擁有自主知識產權。公司注重產品的技術服務與支持,具備重工、機械裝備、機電設備技術領域內的開發、咨詢、服務等能力,同時提供機械設備的圖紙工藝設計、樣品試做、專利技術創新轉化等服務。
實用新型專利(-)
實用新型名稱
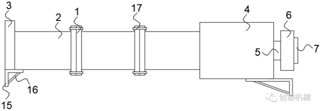
一種可自動調節的鋼支撐伺服軸力補償系統
摘要
本實用新型公開了一種可自動調節的鋼支撐伺服軸力補償系統,包括法蘭邊,法蘭邊上連接有支撐桿,支撐桿一端安裝有第一圍檀,另一端設有殼體,殼體內部安裝有智能支撐總成,智能支撐總成的伸出端連接有伸縮桿,伸縮桿端頭安裝有第二圍檀,第二圍檀的側壁上安裝有周邊變形監測傳感器,周邊變形監測傳感器通過通信線外接有處理器,處理器通過通信線外接有PLC控制器,PLC控制器通過通信線連接有電機,電機的輸出軸端頭安裝有油泵,油泵通過管路連通智能支撐總成。該可自動調節的鋼支撐伺服軸力補償系統,機械自動化程度高,操作流程簡便,進而能夠有效的保證鋼支撐伺服軸力補償系統的有效性,提高鋼支撐伺服軸力補償系統的實用性。
背景技術
目前在建筑施工中,大面積地下開挖都采用鋼筋混凝土作為坑中的水平支撐,但這種做法施工成本高,不能重復利用,特別是在施工完成后拆除工作量大,噪聲大、污染嚴重,不利于環保。而目前另一種方法就是用鋼支撐作為地下開挖后的水平支撐,它克服了混凝土水平支撐的缺點,具有可重復使用,經濟環保等優點。
現有的鋼支撐伺服軸力補償系統在設計上存在不足之處,當鋼支撐伺服軸力補償系統作用在較松軟基坑土層時,由于傳統的智能支撐總成的軸向推力和進給速度較為固定,且較快,導致松軟的土層被沖擊壓縮嚴重,造成鋼支撐系統失效,進而給基坑施工帶來不便,降低施工進度。因此,我們提出一種可自動調節的鋼支撐伺服軸力補償系統。
實用新型內容
本實用新型的目的在于提供一種可自動調節的鋼支撐伺服軸力補償系統,以解決上述背景技術中提出的問題。
為實現上述目的,本實用新型提供如下技術方案:設計一種可自動調節的鋼支撐伺服軸力補償系統,包括法蘭邊,所述法蘭邊上連接有支撐桿,所述支撐桿一端安裝有第一圍檀,另一端設有殼體,所述殼體內部安裝有智能支撐總成,所述智能支撐總成的伸出端連接有伸縮桿,所述伸縮桿端頭安裝有第二圍檀,所述第二圍檀的側壁上安裝有周邊變形監測傳感器,所述周邊變形監測傳感器通過通信線外接有處理器,所述處理器通過通信線外接有PLC控制器,所述PLC控制器通過通信線連接有電機,所述電機的輸出軸端頭安裝有油泵,所述油泵通過管路連通智能支撐總成,且管路上依次安裝有電磁截止閥、電磁溢流閥。
